아이돌보미 양성교육은 '아이돌보미'로 근무하기 위해 필수로 이수해야 하는 교육입니다.
이 글에는 아이돌보미 양성교육 이수 방법과 아이돌보미 모집공고 확인 및 지원 방법에 대한 내용을 포함하고 있으며, 아이돌보미로 근무하기 위해 자격증이 필요한지, 아이돌보미 근무 시 급여에 대한 정보도 있습니다.
아이돌보미를 준비하고 있는 분들은, 이 글을 끝까지 읽으시면 도움이 되실 겁니다.
목차
이 게시물은 아이돌보미 양상교육에 대해 간단히 정리해 3분 안에 궁금하신 점에 대한 답을 얻으실 수 있습니다.
게시물 상단 및 중간에 관련 상품 및 서비스가 나오고 있다면, 아직 기회가 있다는 뜻입니다.
상품 및 서비스 제공 혜택이 마감되기 전에, 꼭 한번 확인해 보시길 추천드립니다.

아이돌보미 양성교육
정부 및 지방자치단체에서 진행하는 '아이돌봄 서비스' 관련된 일을 하기 위해서는, '양성교육'을 이수하거나 관련 자격증을 취득한 사람만 가능합니다. 아이돌보미 양성교육은 지역의 가족지원센터, 평생교육원 및 직업훈련학교 등에서 진행합니다.
아이돌보미 양성교육 이수 방법
아이돌보미 양성교육은 각 지역에 있는 다문화 가족지원센터, 가족지원센터 등에서 모집합니다. 양성교육 이수를 하면 관련 기관에서 근무할 수 있도록 근로계약까지 진행됩니다.

모집공고 확인
아이돌보미로 근무하기 위해 모집공고가 난 기관에서 지원서를 작성하면, 서류 및 면접 심사를 걸쳐 교육 대상자로 선발됩니다.
이후 아이돌보미 양성교육을 이수하게 되면, 아이돌보미로 등록되며, 아이돌보미로 근로계약을 체결한 뒤 활동할 수 있습니다.
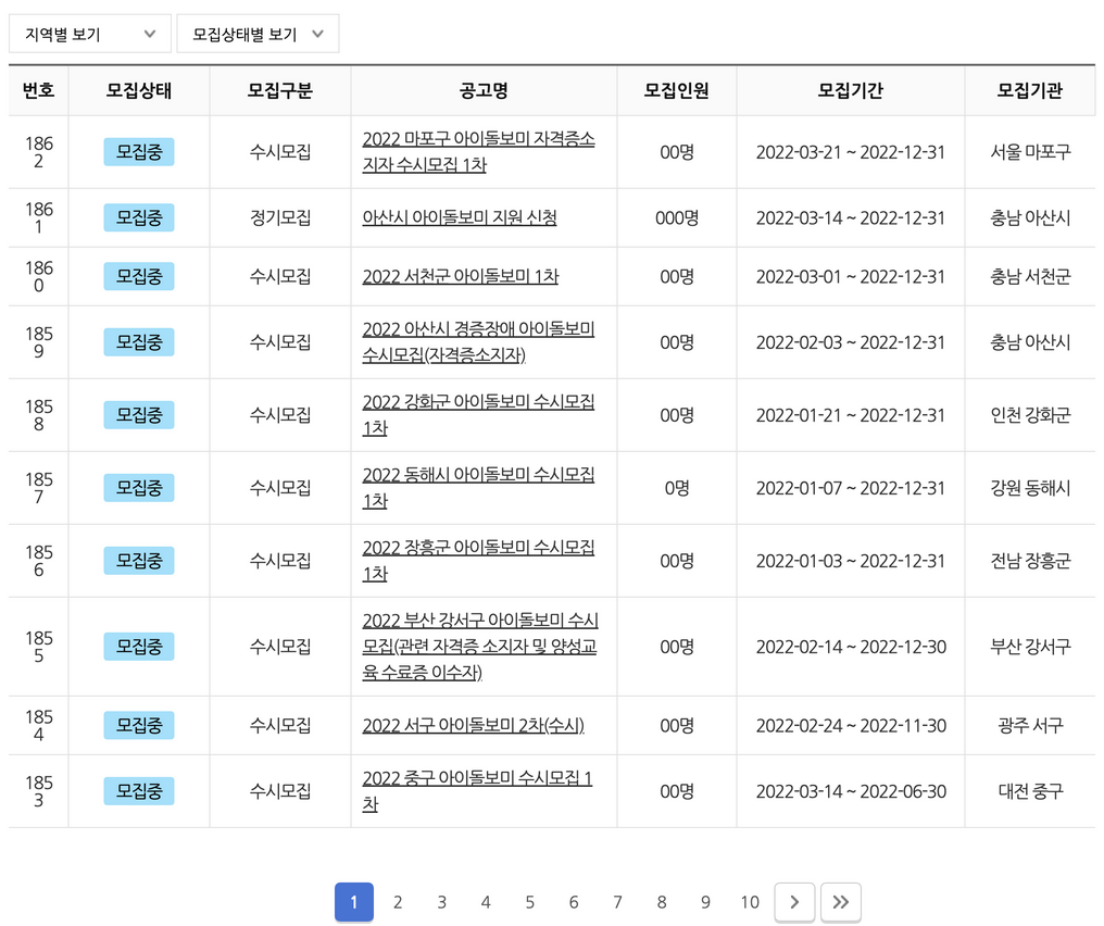
아이돌보미 양성교육은 '아이돌봄서비스' 홈페이지에서 지역별 모집공고와 함께 확인이 가능합니다.

위의 그림과 같이 각 지역별 아이돌보미 양성교육 모집 공고를 확인할 수 있습니다.
교육 과정 이수
아이돌보미 양성교육은 이론교육 80시간(2주), 현장실습 20시간을 이수해야 합니다.
이론 교육과정은 다음 그림(표)과 같습니다.


현장실습은 기존에 활동 중인 아이돌보미와 2인 1조로 이용자 가정을 방문하여 활동하며 실습을 진행하며, 20시간의 현장실습을 이수해야 합니다.
최근 코로나19로 인해 집합교육 외에도 온라인 비대면 교육(Zoom 화상 등)을 진행하는 교육이 많은 점 참고 바랍니다.
양성교육 교육비
아이돌보미 양성교육의 경우 교육비를 납입해야 하며, 교육기관별로 다르나 현장실습비 포함하여 20만 원 ~ 30만 원 수준입니다.
아이돌보미 양성교육은 국비지원(내일배움카드)을 받을 수 있는 교육으로, 자비부담 8만 원 정도로 교육을 이수할 수 있습니다.
보수교육
아이돌보미 자격의 유지를 위해서는 매년 보수교육을 이수해야 합니다. 당해 연도에 양성교육을 수료한 경우에는 보수교육이 면제됩니다.
만약, 연속하여 3회 이상 보수교육을 받지 않을 경우 아이돌보미 자격이 정지되니, 매년 보수교육을 이수해야 합니다.
보수교육은 기본과정 8시간, 특화과정 8시간으로 구성됩니다.


기본과정 8시간은 공통과정 4차시와 모듈 1개를 선택하여 이수하며, 특화과정은 6개 모듈 중 1개를 선택하여 이수하면 됩니다.
아이돌보미 자격증 필요 여부
보통 아이돌보미 자격증이라고 하는 자격증은 정식 자격증 명칭이 아닙니다.
아이돌보미 근로계약을 할 때 '아이 돌봄'과 관련된 자격증 소지자는, 아이돌보미 양성교육을 이수하지 않아도 근로계약 체결이 가능합니다.
모집 공고 및 기관별로 다르나, 보통 다음의 자격증을 아이돌보미 자격을 갖춘 것으로 적용하고 있습니다.
- 보육교사
- 유치원 정교사
- 초중등 교원 자격증
- 간호사 자격증
위 항목의 자격증을 취득했다면, 아이돌보미 양성교육이 면제되며, 현장실습만 진행하여 아이돌보미 자격을 획득할 수 있습니다.
아이돌보미 급여
기본 급여 및 근무형태별 추가 수당
아이돌보미로 근무 시 급여는 기본시급에 근무 기관 및 돌봄 서비스를 제공하는 아동에 따라 급여가 올라가게 됩니다.
급여는 매년 최저시급을 기준으로 달라지기 때문에, 근로계약 전에 받을 수 있는 급여를 확인하시는 것이 좋습니다.

야간 및 휴일, 연장근로를 할 경우 시급의 50%가 증액되며, 동일 시간대에 2명 이상의 함께 돌보게 되면 아동 수에 따라 추가 수당이 지급됩니다.
아동 추가는 2명일 경우 4,585원, 3명일 경우 9,170원입니다.
명절 상여금
아이돌보미로 근무 시 명절 상여금이 지급되며, 명절일로부터 7일(서비스 제공기관 업무일) 전까지 근로계약을 유지하고 있고, 1회 이상 돌봄 서비스를 제공한 사람은 명절상여금을 지급받을 수 있습니다.
만약, 명절일 전월 이전에 채용되었으나, 명절일 현재 퇴직자 및 휴직자, 자격정지, 활동정지, 정직처분을 받았거나, 명절일 전일 기준 6개월간 돌봄서비스를 제공한 이력이 없을 경우 명절 상여금을 지급받지 못합니다.
기본 상여금은 1회 10만 원(연 2회, 설날, 추석 지급)으로, 경력이 있을 경우 가산금이 지급됩니다.

교통비 지급
아이돌보미 서비스를 섬, 벽지 및 읍, 면 지역에 제공하는 경우, 아이돌보미 가정에서 이용자 가정까지 편도 3km 이상일 경우 교통비를 1인당 1일 1회 지급합니다. 교통비 지급 여건은 시, 도 등 지역에서 활동 기피지역(지리 여건, 교통상황 등) 일 경우 교통비를 받는 경우도 있습니다.

위와 같이 아이돌보미 양성교육 이수 및 자격증 필요 여부, 아이돌보미 근무 시 급여 관련 정보를 정리하였습니다. 도움이 되시길 바랍니다.
| 📝 관련 글 읽어보기 |
제 블로그의 다른 글도 읽어주세요! 도움 되는 글이 많이 있답니다.^^
더 많은 정보를 얻으시려면, 공감(❤️)과 구독 부탁드립니다.



